1. Giới thiệu chung
Van một chiều TCA-612F nhãn hiệu TLSH-France là loại van một chiều kiểu lò xo (silent check valve), thiết kế kết nối mặt bích với cơ chế đóng mở bằng lò xo giúp đóng êm, ngăn chặn hiệu quả hiện tượng búa nước (water hammer) và tiếng ồn do dòng chảy ngược. Van thích hợp sử dụng trong các hệ thống cấp nước, chữa cháy, điều hòa không khí (HVAC) và làm mát công nghiệp.

2. Ứng dụng
- Hệ thống cấp nước sạch và tái sử dụng.
- Hệ thống chữa cháy (PCCC).
- Hệ thống HVAC (điều hòa không khí và thông gió).
- Hệ thống làm mát trong công nghiệp và công trình dân dụng.
3. Thông số kỹ thuật
Thông số |
Giá trị |
Kiểu van |
Van một chiều giảm âm mặt bích |
Dải kích cỡ |
DN50 – DN300 |
Áp suất làm việc tối đa |
16 bar |
Nhiệt độ làm việc |
0°C đến +80°C |
Áp suất thử thân (Body) |
24 bar |
Áp suất thử ghế (Seat) |
17.6 bar |
Tiêu chuẩn kiểm tra |
EN 12266-1 |
Tiêu chuẩn mặt bích |
EN 1092-2 |
Sơn phủ |
Sơn epoxy tĩnh điện |
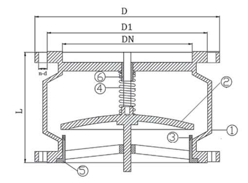
4. Vật liệu cấu tạo

STT |
Bộ phận |
Vật liệu |
1 |
Thân van (Body) |
Gang dẻo GGG50 |
2 |
Đĩa van (Disc) |
Gang dẻo GGG50 |
3 |
Vòng làm kín (Seat ring) |
NBR |
4 |
Lò xo (Spring) |
Inox 304 |
5. Ưu điểm nổi bật
- Hoạt động êm ái, giảm tiếng ồn tối đa, đặc biệt trong hệ thống áp suất cao.
- Lò xo inox 304 giúp đóng nhanh, chính xác, chống dòng chảy ngược hiệu quả.
- Thân và đĩa van bằng gang dẻo GGG50, độ bền cơ học và khả năng chịu áp cao.
- Lớp phủ epoxy tĩnh điện bảo vệ bề mặt, chống ăn mòn trong môi trường ẩm ướt.
- Thiết kế nhỏ gọn, dễ dàng lắp đặt giữa hai mặt bích theo tiêu chuẩn EN 1092-2.